Access to the car by biometrics: a new patent from Stellantis

2025-07-07
image

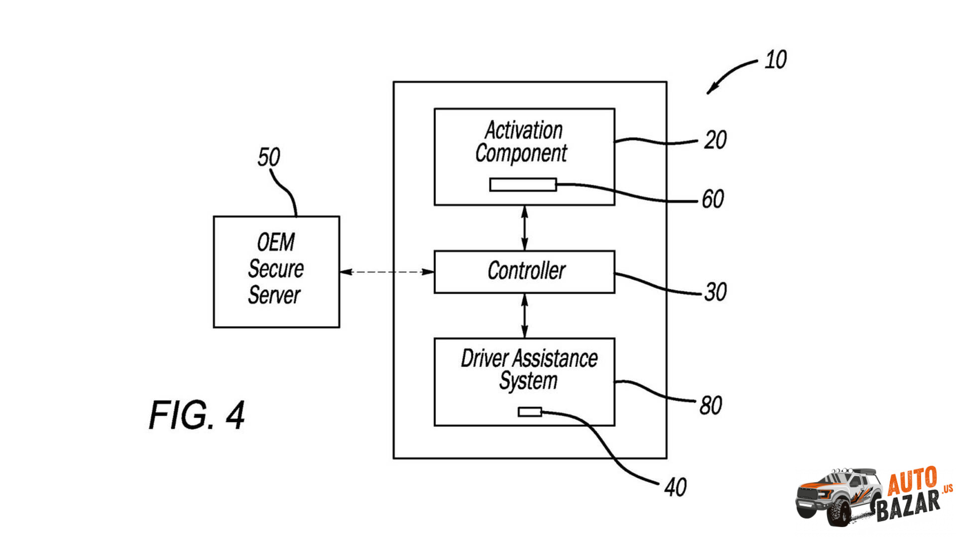
Stellantis has received a patent for a car opening system using a facial recognition system. To open the car, you will not need a key or a smartphone - a special sequence of movements with the door handle and a camera that recognizes the owner by face is enough. This is convenient if you forgot the key or the phone is dead.

The technology does not consume much energy and is activated only after a certain signal. You can register several users - for example, a wife / husband or children.

image
image
image
image

Face photos are stored safely on the Stellantis server, and the modular architecture simplifies implementation in new models and reduces installation costs. This approach makes the system accessible and ready for mass use in future models of Chrysler, Jeep, Dodge and Ram.

If you are interested in buying a car from the USA, AutoBazar.US accepts purchase orders and will deliver your vehicle anywhere in the world.

Fill this form to order the car